J9直营集团

行业动态

了解最新公司动态及行业资讯

重金属土壤修复_重金属污染土壤处理设备_公司

2017-10-10 02:25:31 304 编辑:admin 来源:本站
  现有的土壤重金属治理费用高,治理周期长,且治理后的污染物很难进行安全的资源化利用。目前,国内对土壤重金属治理多处于淋洗剂和淋洗方法的研究及实验装置探索阶段,用于工业化的大规模生产性研究还很少,其中,中国专利申请 CN201310225512.3,《重金属污染场地土壤淋洗修复方法与设备》公开了一种处理重金属污染的土壤修复方法,该方法通过物理分离和化学萃取的方法将重金属污染物分离出来,且淋洗液可重复使用,具有一定的土壤处理效果,但是此发明在土壤资源的有效利用、化学试剂的取材、淋洗液使用环节的数目、土壤的浓缩技术,大规模工业化生产工艺水平的提高以及在成本和经济效益等环节,仍然存在不足,需要进行改进。
  郑州J9直营集团土壤修复公司提供一种重金属污染土壤修复设备,通过淋洗技术将附着在土壤颗粒上的重金属脱离,通过分级筛选可以将重金属污染土壤高度浓缩。
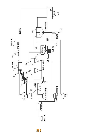
  1、重金属污染土壤修复设备技术方案是 :
  提供一种重金属污染土壤修复设备,包括土壤破碎机、淋洗滚筒、滚筒筛、振动筛、二级旋风分离器、沉淀池、贮水池、脱水筛和污泥浓缩池,还包括分别循环连接所述沉淀池和所述污泥浓缩池的第一压滤机和第二压滤机,所述土壤破碎机的输入端连接输送机,并在输出端通过输送机连接所述淋洗滚筒的输入端,所述淋洗滚筒的输出端连接所述滚筒筛的输入端 , 所述滚筒筛的输出端分别连接输送机和管道,管道连接所述振动筛的输入端,所述振动筛的输出端分别设置有连接稳定化处理设备的输送机和连接所述二级旋风分离器的带泵管道,所述二级旋风分离器在其上部设置有连接沉淀池的管道,并在其底部设置有连接所述脱水筛的管道,所述脱水筛的输出端分别设置有连接稳定化处理设备的输送机和连接二级旋风分离器的带泵管道,所述沉淀池的输出端分别设置有连接第一压滤机的带泵管道和连接所述污泥浓缩池的带泵管道,所述第一压滤机的输出端分别设置有连接稳定化处理设备的输送机和连接所述沉淀池的管道,所述污泥浓缩池的输出端分别设置有连接所述贮水池的管道和连接第二压滤机的带泵管道,所述第二压滤机的输出端分别设置有连接回收设备的输送机和连接所述污泥浓缩池的管道,所述贮水池的输出端设置有连接所述淋洗滚筒的带泵管道。
  在本实用新型一个较佳实施例中,所述滚筒筛的孔径为 20mm。所述振动筛的孔径为 2mm。所述脱水筛的孔径为 0.075mm。
  2、重金属污染土壤修复设备结构特点
重金属污染土壤处理设备的一较佳实施例的结构示意图
  图 1 是本实用新型一种重金属污染土壤修复设备的一较佳实施例的结构示意图。
  附图中各部件的标记如下 :1、土壤破碎机,2、淋洗滚筒,3、滚筒筛,4、振动筛,5、二级旋风分离器,6、沉淀池,7、脱水筛,8、污泥浓缩池,91、第一压滤机,92、第二压滤机,10、贮水池。
  一种重金属污染土壤修复设备,包括土壤破碎机 1、淋洗滚筒 2、滚筒筛 3、振动筛4、二级旋风分离器 5、沉淀池 6、贮水池 10、脱水筛 7 和污泥浓缩池 8,还包括分别循环连接所述沉淀池 6 和所述污泥浓缩池 8 的第一压滤机 91 和第二压滤机 92,所述土壤破碎机 1 的输入端连接输送机,并在输出端通过输送机连接所述淋洗滚筒 2 的输入端,所述淋洗滚筒 2的输出端连接所述滚筒筛 3 的输入端 , 所述滚筒筛 3 的输出端分别连接输送机和管道,其中,管道连接所述振动筛 4 的输入端,所述振动筛 4 的输出端分别设置有连接稳定化处理设备的输送机和连接所述二级旋风分离器 5 的带泵管道,所述二级旋风分离器 5 在其上部设置有连接沉淀池 6 的管道,并在其底部设置有连接所述脱水筛 7 的管道,所述脱水筛 7 的输出端分别设置有连接稳定化处理设备的输送机和连接二级旋风分离器 5 的带泵管道,所述沉淀池 6 的输出端分别设置有连接第一压滤机 91 的带泵管道和连接所述污泥浓缩池 8 的带泵管道,所述第一压滤机 91 的输出端分别设置有连接稳定化处理设备的输送机和连接所述沉淀池 6 的管道,所述污泥浓缩池 8 的输出端分别设置有连接所述贮水池 10 的管道和连接第二压滤机 92 的带泵管道,所述第二压滤机 92 的输出端分别设置有连接回收设备的输送机和连接所述污泥浓缩池 8 的管道,所述贮水池 10 的输出端设置有连接所述淋洗滚筒2 的带泵管道。
  所述滚筒筛 3 的孔径为 20mm。所述振动筛 4 的孔径为 2mm。所述脱水筛 7 的孔径为 0.075mm,其作用与振动筛 4 相同。.
  3、重金属污染土壤修复设备技术工艺
  采用重金属污染土壤修复设备对污染土壤进行重金属污染土壤淋洗和重金属浓缩化方法,包括以下步骤 :
  1) 预处理 : 土壤破碎机 1 中,对污染土壤及其杂质进行破碎,然后将破碎后的土壤输送至淋洗滚筒 2 ;
  2)淋洗 :淋洗滚筒 2中,对污染土壤进行粉碎,同时加入淋洗剂,淋洗时间为 10-30分钟,之后输送至滚筒筛 3 ;
  3)旋转分离 :滚筒筛 3 中,旋转,分离出含有大于 20mm 颗粒的土壤和小于 20mm 颗粒的土壤泥浆,将含有小于 20mm 颗粒的土壤泥浆输送至振动筛 4 ;
  4)振动分离 :振动筛 4 中,振动,分离出含有 2-20mm 颗粒的土壤,分离后的泥浆通过泵被输送至二级旋风分离器 5,将含有 2-20mm 颗粒的土壤根据要求进行稳定化处理后可作为清洁土壤进行资源利用 ;
  5)分级 :二级旋风分离器 5 中,旋转,对泥浆中比重较轻的细颗粒土壤和比重较大的粗颗粒土壤进行分级,分级后,上层比重较轻的细颗粒土壤泥浆进入沉淀池 6,即进入步骤(6);下层比重较大的粗颗粒土壤泥浆进入脱水筛 7,即进入步骤(7);
  6)沉淀 :沉淀池 6 中,将上清液(含有小于 0.001mm 的土壤颗粒)由泵输送到污泥浓缩池 8,即进入步骤(8);将沉积在池子底部的土壤通过泵输送至第一压滤机 91,通过过滤分离出含有 0.001-0.075mm 颗粒的土壤,将含有 0.001-0.075mm 颗粒的土壤根据要求进行稳定化处理后可作为清洁土壤进行资源利用,滤液通过循环回送至沉淀池 6 ;
  7)脱水 :脱水筛 7 中,分离出含有 0.075-2mm 颗粒的土壤,分离出的土壤根据要求进行稳定化处理后可作为清洁土壤进行资源利用 , 分离出的泥浆由泵循环输送至二级旋风分离器 5,即进入步骤(5);
  8) 污泥浓缩 :污泥浓缩池 8 中,加入重金属去除剂、混凝剂和助凝剂进行污泥浓缩,分离出污泥和上清液,将上清液导入贮水池 10,进入步骤(9);将底部污泥导入第二压滤机 92 中过滤,过滤后的液体循环进入污泥浓缩池 8,过滤后的污泥进行资源回收利用,回收利用包括提取其中的重金属或进行填埋 ;
  9) 回用水 :贮水池 10 中的液体通过泵输送至淋洗滚筒 2。
  步骤(2)中的淋洗剂为清水或低浓度酸,所述低浓度酸为稀释后的硝酸、硫酸、盐
  所述淋洗剂与污染土壤的投入比为 2 :1-5 :1,所述淋洗剂为低浓度酸时,所述低浓度酸的 PH 值为 3-5。
  所述重金属去除剂为硫化钾、硫化铵、烧碱、氢氧化钙、碳酸钠、碳酸钡和氯化钡中的至少一种。
  所述混凝剂为硫酸铝、三氯化铁、硫酸亚铁、硫酸镁、硫化亚铁、聚合氯化铝、聚合铁、明矾中的至少一种。
  所述助凝剂为聚丙烯酰胺、聚丙烯、活性硅酸、海藻酸钠、羧甲基纤维素钠、聚丙烯胺、磷酸中的至少一种。
  4、重金属污染土壤修复设备的有益效果是 :
  a、本发明的有益效果是 :通过淋洗技术将附着在土壤颗粒上的重金属脱离,通过分级筛选可以将重金属污染土壤高度浓缩,清洗后的土壤完全达到环境质量标准和安全标准,可进行再利用或安全填埋 ;
  b、与普通的污染土壤治理和修复技术相比,具有安全有效、成本低、资源利用率高和适用范围广的特点,且能够为后续土壤中重金属提取或资源化利用打好基础,该技术还能充分的考虑到处理系统内资源的重复利用,经济性好。

30

装备制造经验

立即免费获取土壤修复方案

为用户提供及时、高效、便捷的服务

在线咨询
J9直营集团环境希望与你携手,共创美好未来...
5