J9直营集团

行业动态

了解最新公司动态及行业资讯

新型节能环保型土壤热脱附装置

2018-08-24 01:16:49 313 编辑:admin 来源:本站
     随着社会的发展人们对于环境的要求变得越来越高,在土壤修复技术领域中需要 运用到土壤热脱附装置,但是现有的土壤热脱附装置存在着很大的局限性,现有的热脱附装置往往 只是进行了土壤修复,而修复过程中所产生的尾气却直接排放到了空气中,从而造成二 次污染,所以为了增加其的实用性能设计一种节能环保型热脱附装置就显得尤为重要
土壤热脱附。 

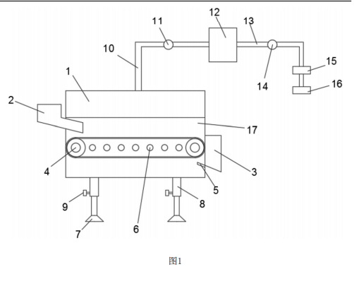
      节能环保型土壤热脱附装置,包括槽型聚光壳体、透光罩体、传送带装置、进料筒和出料筒,所述的槽型聚光壳体的顶部呈敞开状,所述的透光罩体可拆卸地连接在槽型聚光壳体上,所述的透光罩体的顶部连接有出气管,所述的出气管与废气回收系统相连,所述的传送带装置设置在槽型聚光壳体内,所述的槽型聚光壳体的左端连接有进料筒,所述的进料筒的下端伸入至槽型聚光壳体内并且其的出料口位于传送带装置左端的正上方,所述的出料筒设置在槽型聚光壳体的右端。本实用新型利用槽型聚光壳体把太阳能转换成热能对土壤直接进行加热,减少了能源的损耗,大大降低了成本。

30

装备制造经验

立即免费获取土壤修复方案

为用户提供及时、高效、便捷的服务

在线咨询
J9直营集团环境希望与你携手,共创美好未来...
5