J9直营集团

公司动态

了解最新公司动态及行业资讯

化学淋洗和生物修复相结合修复重金属污染土壤

2017-10-12 02:55:46 694 编辑:admin 来源:本站
  本发明的目的是提供一种化学淋洗和生物修复相结合修复重金属污染土壤的方法。
  1、重金属污染土壤修复方法:
  一种化学淋洗和生物修复相结合修复重金属污染土壤的方法,根据土壤中重金属含量的高低,分为重度污染和轻度污染,然后选择修复方法,若为重度污染,则先进行化学淋洗,然后进行生物修复 ;若轻度污染,直接选择生物修复 ;
  所述化学淋洗的方法为 :以酸性螯合剂,优选乙二胺二琥珀酸作为淋洗剂 ;首先,用喷淋设施将淋洗剂通过淋洗喷头喷淋到受污染的土壤上,淋洗剂与土壤中的重金属离子发生反应,然后,通过抽吸井将反应后的淋洗剂抽吸到地表进行处理 ;
  所述生物修复的方法为 :在污染带上面覆盖一层非渗透性的封闭层,将含有硫酸盐还原菌的培养基通过加样井接种到土壤上进行培养,然后用抽吸井抽出含有微生物的污染物。
  所述重度污染为土壤中铬含量大于 2.5 mg/kg ;铜含量大于 93.2 mg/kg ;铅含量大于125.5 mg/kg ;汞含量大于0.8 mg/kg ;所述轻度污染为土壤中铬含量小于2.5 mg/kg ;铜含量小于 93.2 mg/kg ;铅含量小于 125.5 mg/kg ;汞含量小于 0.8 mg/kg。
  2、本发明的有益效果为 :
  通过对不同类型的受污染的土壤进行分类,然后对重度污染的土壤通过添加酸性螯合剂进行淋洗,提取出土壤中高浓度的重金属,对淋洗不完全的部分残留的低浓度的受污染土壤进行生物修复。本发明利用化学修复结合生物修复的方法,进行重金属的原位修复,该方法能够对受重金属污染的土壤有明显的修复效果,并成功的避免了对土壤的二次污染。
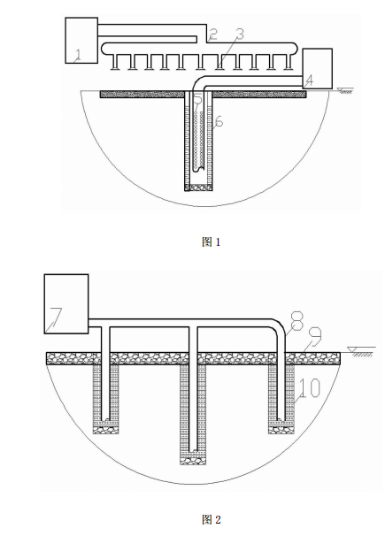
  3、附图说明
化学淋洗和生物修复相结合修复重金属污染土壤的方法
  附图 1 化学淋洗方法修复重金属污染土壤的示意图 ;
  附图 2 微生物修复重金属污染土壤的示意图 ;
  1- 喷淋装置 ;2- 喷淋管道 ;3- 淋洗喷头 ;4- 外部处理设施 ;5- 抽吸管道 ;6- 抽吸井 ;7- 加样装置 ;8- 加样管道 ;9- 非渗透性封闭层 ;10- 加样井。
  对于重度污染的重金属土壤 :将浓度为 20mmol/L 的乙二胺二琥珀酸(EEDS)为淋洗剂,先进行化学淋洗,首先用喷淋装置 1 将淋洗剂通过喷淋管道 2 的淋洗喷头 3 喷淋到受污染的土壤上,依靠重力作用,喷淋剂在土壤中下渗,并与土壤中的重金属离子发生反应,喷淋大约 20 天后土壤中水提取态的重金属达到最大浓度 ;然后用抽吸井 6 通过抽吸管道 5将含有重金属的淋洗剂抽到地表进行处理,并用外部处理设施 4 进行处置,如图 1 所示。
  对化学淋洗后含有低浓度重金属的土壤进行生物修复。选用硫酸盐还原菌在污染带上面覆盖一层非渗透性的封闭层 9,将含有硫酸盐还原菌的培养基在加样装置 7 作用下通过加样井 10 中的加样管道 8 接种到土壤上进行培养,有硫酸盐还原菌以重金属表面有机物作为碳源,并利用有硫酸盐还原菌生物膜内产生的氢,将硫酸盐还原成硫化氢,从氧化还原反应中获得生存的能量,将重金属和残余的 EEDS 摄入体内,然后用抽吸井 6 抽出含有微生物的淋洗液。如图 2 所示。

30

装备制造经验

立即免费获取土壤修复方案

为用户提供及时、高效、便捷的服务

在线咨询
J9直营集团环境希望与你携手,共创美好未来...
5