J9直营集团

公司动态

了解最新公司动态及行业资讯

污染土壤修复用淋洗振动筛分装备

2017-11-21 03:10:35 380 编辑:admin 来源:本站
  随着我国经济的高速发展和城市化、工业化进程的加快,废弃化工污染场地数量增加,存在极大的环境和健康风险,该类“棕地”的修复与使用成为城市开发中必须面对的问题。当前,土壤淋洗法是重金属或重金属与有机污染复合污染场地治理的主流技术,在欧美等发达国家已经趋于成熟,在国内则处于起步阶段。
  对污染场地的土壤采用淋洗进行修复时,需先对土壤根据粒径大小分级。在分级的过程中,需要采用喷淋水洗的方式使石块、粗砂砾表面附着的污染物大部分转移到筛分设备下面的泥水中。传统的振动筛仅局限于制造业、加工业等,其为一种适合细粒级难筛物料干法筛分的振动筛分机械设备。对于土壤淋洗技术而言,单一的振动筛无法满足淋洗工艺的需求。
  本发明的目的是为了解决上述现有技术存在的问题,即对于土壤淋洗技术而言,单一的振动筛无法满足淋洗工艺的需求。进而提供一种污染土壤修复用淋洗振动筛分装备。
  一、 本发明的目的是通过以下技术方案实现的 :
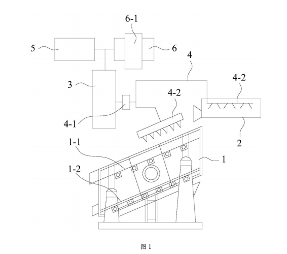
  一种污染土壤修复用淋洗振动筛分装备,包括 :振动筛、第一层筛网、第二层筛网、制泥机、淋洗剂比例混合装置、高压喷淋系统、高压泵、高压喷头、淋洗剂储罐和回用水箱,所述制泥机设置在振动筛初端的上部,振动筛内的上部设有第一层筛网,振动筛内的下部设有第二层筛网,第一层筛网和第二层筛网上下平行设置,淋洗剂比例混合装置的入口分别与淋洗剂储罐的出口和回用水箱的出口相连通,淋洗剂比例混合装置的出口与高压泵的入口相连通,高压泵的出口与高压喷淋系统相连通,高压喷淋系统的两端分别设有高压喷头,一个高压喷头设置在振动筛的上部,另一个高压喷头设置在制泥机内的上部。
  污染土壤修复用淋洗振动筛分装备还包括加热装置,所述加热装置安装在回用水箱上。
  二、优点
  本发明针对重金属、有机以及重金属与有机复合污染土壤,污染物吸附性强、较难去除的问题,开发了土壤修复用淋洗振动筛分装备,该装备可以将经过淋洗的污染土壤高效筛分成 2mm 以下、2 ~ 10mm 和 10mm 以上三类粒径级配的组分,淋洗液比例混合装置可有效控制淋洗液的最优投加量,同时,回用水箱的电加热装置可以保障淋洗液在冬季低温环境的最佳使用条件。本发明的主要优点如下 :
  1、可移动式的 / 基本实现全自动化振动筛分装备 ;
  2、设备预计处理能力为 20m3/h ;
  3、振次达到 900 次 / 分以上 ;
  4、淋洗液投加量可控 ;
  5、回用水箱温度可控,控温范围 30℃~ 80℃,可保证淋洗液低温环境最佳使用条件。
  三、附图说明
污染土壤修复用淋洗振动筛分装备的结构示意图
  图 1 为本发明污染土壤修复用淋洗振动筛分装备的结构示意图。
  图中的附图标记,1 为振动筛,1-1 为第一层筛网 ( 网孔 10mm),1-2 为第二层筛网( 网孔 2mm),2 为制泥机,3 为淋洗剂比例混合装置,4 为高压喷淋系统,4-1 为高压泵,4-2 为高压喷头,5 为淋洗剂储罐,6 为回用水箱,6-1 为加热装置

30

装备制造经验

立即免费获取土壤修复方案

为用户提供及时、高效、便捷的服务

在线咨询
J9直营集团环境希望与你携手,共创美好未来...
5